1.1. 缴费退费查看
可以查看历史的缴费信息、退费信息和转班结算明细。
1.1.1. 缴费信息
可对订单缴费的历史记录进行查询,包括应收款、预收款和定金等

查看
查看各个费用的详情

汇总
可对缴费状态进行不同的账款的汇总显示。

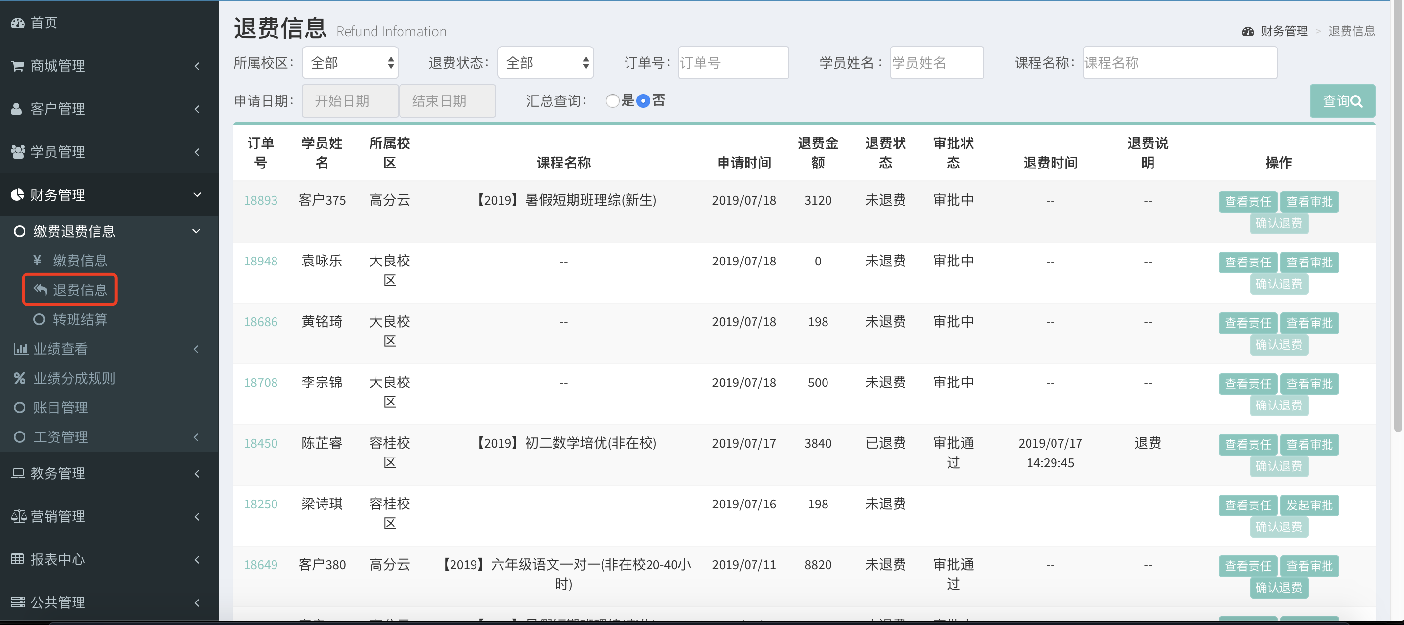
1.1.2. 退费信息
展示申请退费、已退费状态的学员课程,显示退费责任人和退费审批流程。

查看责任
查看课程退费对应的员工和部门责任
财务人员在未确认退费前可以对责任人和部门进行修改和复制。

查看审批
查看退费课程的退费审批进度,
审批流程设置在”公共管理-审批流程设置“中进行设置

发起审批
审批失败或未发起审批的课程退费可再次发起审批

确认退费
审批结束可以退退费课程进行确认退费,确认退费后将扣减对应责任人的相关业绩。
1.1.3. 转班结算
展示转班结算的课程和学员

对数据进行汇总显示,筛选条件下也能汇总
